Колодец пластиковый ККТ-1
Артикул:
110104-00018
Колодец пластиковый ККТ-1
Подробнее
30 195 руб./шт
Под заказ
Нашли дешевле?
Под заказ
Описание
Предназначен для строительства электрических и телекоммуникационных кабельных сетей, с размещением технологического запаса и кабельных муфт, а также размещения пассивного оборудования.
Колодец состоит из цельнолитого корпуса и крышки с резьбовым соединением. Корпус колодца имеет радиально расположенные рёбра жесткости, которые придают корпусу прочность. В месте соприкосновения горловины колодца и крышки, располагается резиновый уплотнитель. На верхней поверхности крышки имеются специальные отверстия, в которые вставляется ключ, который приобретается дополнительно. Это позволяет закрутить крышку с усилием. Последующее открытие крышки возможно только с применением ключа.
Колодец ККТ-1 оснащен 4-мя ступенчатыми вводными патрубками, и 4-мя дополнительными площадками для ввода труб. При устройстве кабельных сетей с использованием бронированного кабеля, который укладывается в грунт без защитных труб, кабель вводится в колодец ККТ-1 через патрубки и герметизируется при помощи термоусаживаемых трубок. Защитные трубы кабельной канализации диаметром 50 и 110 мм могут вводиться внутрь патрубков, заглушенная часть которых предварительно обрезается. Также ввод защитных труб осуществляется в предусмотренные в корпусе колодца ККТ-1 монтажные площадки, используя адаптеры герметичного ввода диаметром от 25 мм до 110 мм.
Материал Полиэтилен среднего давления
Кол-во ступенчатых патрубков, шт. 4
Внешний диаметр ступенчатых патрубков, мм 70/125
Внутренний диаметр ступенчатых патрубков, мм 55/110
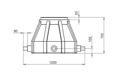
Диаметр, мм 1200
Высота, мм 750
Диаметр отверстия, мм 445
Рабочая температура, С° -40…+60
Масса, кг 25
Колодец состоит из цельнолитого корпуса и крышки с резьбовым соединением. Корпус колодца имеет радиально расположенные рёбра жесткости, которые придают корпусу прочность. В месте соприкосновения горловины колодца и крышки, располагается резиновый уплотнитель. На верхней поверхности крышки имеются специальные отверстия, в которые вставляется ключ, который приобретается дополнительно. Это позволяет закрутить крышку с усилием. Последующее открытие крышки возможно только с применением ключа.
Колодец ККТ-1 оснащен 4-мя ступенчатыми вводными патрубками, и 4-мя дополнительными площадками для ввода труб. При устройстве кабельных сетей с использованием бронированного кабеля, который укладывается в грунт без защитных труб, кабель вводится в колодец ККТ-1 через патрубки и герметизируется при помощи термоусаживаемых трубок. Защитные трубы кабельной канализации диаметром 50 и 110 мм могут вводиться внутрь патрубков, заглушенная часть которых предварительно обрезается. Также ввод защитных труб осуществляется в предусмотренные в корпусе колодца ККТ-1 монтажные площадки, используя адаптеры герметичного ввода диаметром от 25 мм до 110 мм.
Материал Полиэтилен среднего давления
Кол-во ступенчатых патрубков, шт. 4
Внешний диаметр ступенчатых патрубков, мм 70/125
Внутренний диаметр ступенчатых патрубков, мм 55/110
Диаметр, мм 1200
Высота, мм 750
Диаметр отверстия, мм 445
Рабочая температура, С° -40…+60
Масса, кг 25
Задать вопрос
Наличие
Екатеринбург, г.Екатеринбург ул.Гаражная 6Б
тел: +7 (343) 288-70-30
график работы: пн–чт с 9:00 до 18:00, пт с 9:00 до 17:00
email: info@optcom-ural.ru
Под заказ
Прайс лист
Отправить заявку
Новости
Все новости
24 февраля 2025
Дилерский форум ССД
29 января 2025
Итоги работы 2024 - почетное 3 место!!
18 декабря 2024
Кросс оптический стоечный ШКОС-Л




